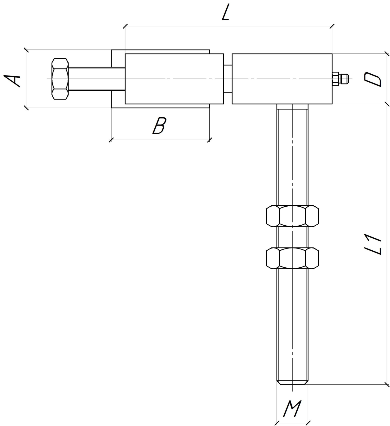
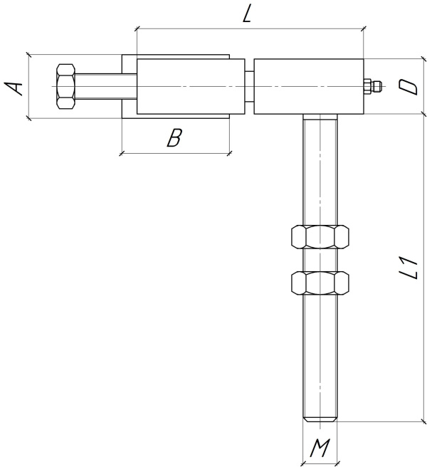
Петля приварна регульована 2ступ. М16 (JL35A)
В наявності
Артикул:
67904
Опис
Петля приварна регульована 2ступ. М16 (JL35A)Переваги петель:- легко фіксуються за допомогою болтового кріплення;- відкидний болт і шпилька з захистом від вандалізму;- відкривання на 180°;- регулювання петель по глибині і висоті.Таблиця розмірів:
| Найменування | M | A | B | D | L | L1 |
| Петля (JL35A) | M16 | 27 | 52 | 25 | 100-128 | 135 |

Відгуки
Поки немає відгуків
Ви переглядали